El sistema requiere que los paquetes sean desplegados de los UAVs
Amazon ha presentado una patente para una etiqueta de envío que incluye un paracaídas incorporado, "para permitir la entrega de paquetes por vehículos aéreos no tripulados (UAVs) u otros vehículos aéreos".
La patente, según lo informado por GeekWire, fue archivada en agosto de 2015 y concedida el lunes por la Oficina de Patentes y Marcas de Estados Unidos (USPTO).
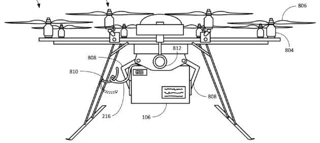
No está claro si el sistema se pondrá en uso, aunque la patente puede proporcionar una nueva visión del proyecto de reparto con drones Prime Air de Amazon. El sistema requiere una etiqueta de embalaje que se integraría con un paracaídas plegado y una red de cables. También podría incorporar en el drone una cubierta separadora, amortiguadores y una red de sensores incorporados para rastrear el descenso del paquete. El sistema se podría adaptar para acomodar el tamaño de un artículo, y podría incorporar varios paracaídas para paquetes pesados.



Las presentaciones de patentes han revelado un montón de otros novedosos planes que Amazon está viendo como parte de sus planes de reparto con drones. Estas ideas incluyen reparto con aviones no tripulados desde almacenes aéreos, o un sistema para conectar varios aviones no tripulados para crear un súper-drone similar al de Lego (o Borg).

Amazon comenzó a probar en el Reino Unido su sistema de reparto con drones a finales del año pasado, y la compañía completó en marzo su primera demostración de Prime Air en Estados Unidos. Los paracaídas no figuraban en ninguno de los test - los drones autónomos simplemente aterrizaron y liberaron sus paquetes - pero una patente otorgada a Amazon en febrero incluye que los paquetes sean lanzados con paracaídas a medio vuelo. Zipline, una startup con sede en California, también ha estado usando paracaídas en los drones para entregar sangre a áreas remotas de Ruanda.
Amazon espera que su red Prime Air entregue los paquetes en un plazo de 30 minutos, y ha ido acumulando patentes sobre tecnología e infraestructura de drones. Pero la compañía todavía enfrenta obstáculos regulatorios en Estados Unidos, donde los drones autónomos aún no están autorizados a volar bajo las actuales reglas de la FAA.





