
Un rascacielos almacén con aviones teledirigidos volando hacia y desde tu casa
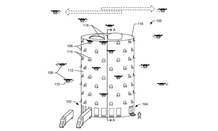
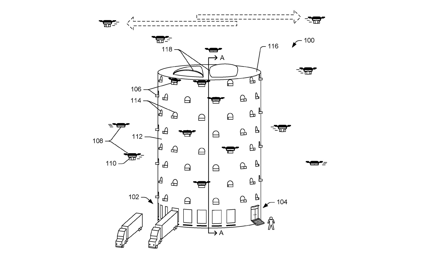
Las patentes no significan nada hasta el momento en que significan todo, así que toma lo leído como que nada de esto podría suceder. Sin embargo, Amazon ha registrado una patente para un concepto que llama un "Centro de Cumplimiento de Múltiples Niveles para Vehículos Aéreos No Tripulados". Que es una manera elegante de decir que quiere construir enormes almacenes cilíndricos en el corazón de las ciudades.
En lugar entregar paquetes a la casa de la gente, el edificio estará atestado de drones que volarán dentro y fuera de las ventanas del edificio.
Tanto como sería de monstruoso, la idea de Amazon resuelve algunos problemas bastante obvios de una compañía de logística en una ciudad. Después de todo, el espacio del almacén requiere un montón de tierra que está en un denso ambiente urbano. Un edificio vertical eliminaría algo ese problema, mientras que los robots y los recolectores humanos recorren los pisos seleccionando el adecuado Blu-ray para que el drone lo recoja.
Demonios, imagínate las distopías, unas generaciones más tarde, cuando los humanos postapocalípticos adoren esas brillantes torres que proporcionan comida y ropa con su ejército de robots voladores.





